2025年全國高考結束
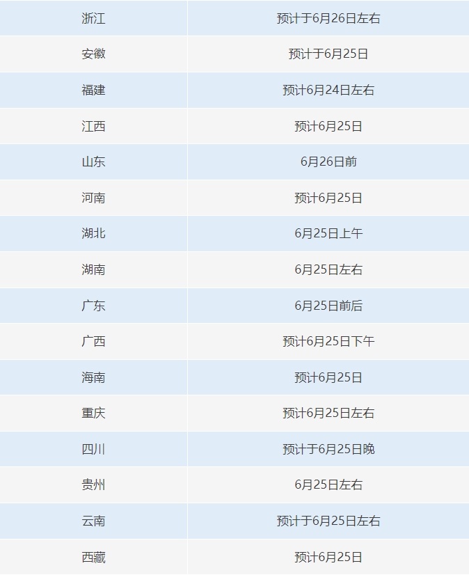
31個省份高考成績查詢時間
陸續公布
↓↓↓



在高考成績公布前
考生和家長可以提前開始做以下準備
↓↓↓
結合考生的興趣愛好、職業規劃以及自身優勢,初步確定目標院校和專業范圍。
收集目標院校招生信息,包括高校的招生章程、專業設置,了解歷年錄取分數線、位次等數據,了解目標院校的招生政策和專業要求。
關注所在省份招生考試院發布的招生計劃和政策解讀,及時掌握最新的招生動態。

每年高考,總會有些不良機構或不法分子趁機尋找詐騙機會。對此,多個省份發布提示,提醒考生和家長警惕涉考騙局,不要輕信非官方渠道發布的不實信息和一些高收費的志愿填報輔導機構,謹防上當受騙。
關于我們 丨聯系我們 丨集團招聘丨 法律聲明 丨 隱私保護丨 服務協議丨 廣告服務
中國西藏新聞網版權所有,未經協議授權,禁止建立鏡像
制作單位:中國西藏新聞網丨地址:西藏自治區拉薩市朵森格路36號丨郵政編碼:850000
備案號:藏ICP備09000733號丨公安備案:54010202000003號 丨廣電節目制作許可證:(藏)字第00002號丨 新聞許可證54120170001號丨網絡視聽許可證2610590號
